Intellectual property is no less important to the Vending Machine industry than to any other technology-based industry. There are a variety of reasons to pursue intellectual property, the most obvious of which is to protect innovations from copying by competitors. Sometimes these rights have to be enforced in court, but the vast majority of the time, the mere existence of the patent, trademark or copyright is enough to dissuade copiers. Another reason is to build value in the business. Intellectual property rights are assets that increase the value of the business. They also can help securing needed financing. Still another reason is to attract investors, who feel their investment is more secure when the business in which they invest is protected.
There are five broad areas of intellectual property: utility patents, design patents, trademarks, copyrights, and trade secrets. Each of these intellectual property rights protects a different aspect of innovation, although there is some overlap. The protection you should choose depends on the nature of the innovation.
Utility Patents

Utility Patents protect useful, new, and non-obvious products, machines, compositions of matter, and processes. In the vending machine industry, utility patents can protect new preparation or dispensing mechanisms, devices for coin and note validation, or card processing. A utility patent generally has a term of 20 years from its earliest non-provisional U.S. filing date. The typical cost of applying for a utility patent for a moderately complex invention is between $6,000 and $9,000, although there will almost certainly be additional costs in prosecuting the application (arguing with the Patent Office) to get the patent allowed, and (hopefully) paying the issue fee. It takes an average of 25 months to get a utility patent.
After the utility patent issues, maintenance fees must be paid between 3½ and 4 years, 7½ and 8 years, and 11½ and 12 years, from issuance or the patent will expire on the 4th, 8th, or 12th anniversary of issuance. To qualify for patent protection, the invention must be useful, it must be novel (new or different from anything previously publicly known), and even if the invention is novel, it must also be more than an obvious variation from what was previously publicly known.
![]() |
![]() |
![]() |
|
U.S. Patent No. 10846972 protects a vending machine with anti-theft features. |
U.S. Patent No. 10699513 protects a balloon vending machine. |
U.S. Patent No. 10726246 protects an identify-verifying vending machine. |
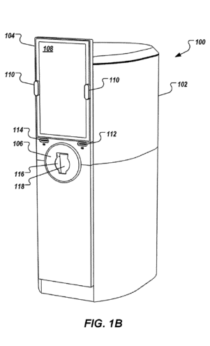
Design Patents
Design Patents protect the novel (new), non-obvious aesthetic appearance of a product or a portion of a product. For vending machines, design patents protect the appearance of the machines or parts of the machines, including the size, shape, and arrangement of parts, and even color schemes. A design patent has a term of 15 years from issuance. The typical cost of applying for a design patent is between $1200 and $1800, although there will almost certainly be additional costs in prosecuting the application to get the patent allowed, and paying the issue fee, but these are usually quite modest. On average, it takes about 12 – 15 months to get a design patent. To qualify for patent protection, the design must be novel (new or different from in appearance from anything previously publicly known), and the appearance must be more than an obvious variation from what was previously known publicly.
![]() |
![]() |
![]() |
|
U.S. Patent No. D872179 protects the appearance of a vending machine with a user-interface. |
U.S. Patent No. D902313 protects the appearance of a vending machine. |
U.S. Patent No. D883385 protects the appearance of a reverse vending machine. |
Trademarks
Trademarks protect words, symbols, and devices (distinctive features) that identify a product or service and distinguish it from the products and services of others. The brands and logos applied to vending machines are trademarks, but so are other non-functional aspects of the machines that customers recognize as indicating the source. These can include shapes, configurations, and color schemes. Trademark rights are created where and when the trademark is used, and last as long as the trademark remains in use. Trademarks can be registered to enhance their protection. A federal trademark registration has a term of ten years from issuance, and can be renewed for additional ten-year periods for as long the mark remains in use. The typical cost of applying for a federal trademark application is about $800, although there will almost certainly be additional costs in prosecuting the application (arguing with the Trademark Office) to get the registration allowed.
Copyrights
Copyrights protect original works of authorship, such as writings, drawings, photographs, etc. Copyrights arise automatically when the work is fixed in some tangible form. For vending machines, copyright can protect the software, the user interface, graphics on the display, technical drawings and plans, and marketing materials. It can also protect websites, advertising, and promotional materials. The copyright can be registered with the Copyright Office, which is a requirement for enforcement, and enhances the remedies available against infringers. The typical cost of applying for a copyright registration is about $300 – $400, and the process takes about three to four months. Copyrights have a term of the life of the author plus 70 years. For works-made-for-hire, the term is the shorter of 90 years from publication or 120 years from creation.
Trade Secrets and Confidential Information
Trade Secrets and Confidential Information are protected by the simple fact that others cannot use what they do not know. In the vending machine industries, trade secrets can include sources of supply, customer lists, manufacturing process details, unpublished plans and tolerances. The protection of trade secrets and confidential information is largely up to the owner, but the law will protect the owners against the use of improper means to acquire the information. The only cost of protecting trade secrets and confidential information is the cost of the security measures that the owner adopts. The protection of trade secrets and confidential information can theoretically last forever, but can be lost if the owner is not careful or if someone reverse engineers the secret or independently creates the same information.
Choosing the Right Protection
Choosing the right protection is a matter of identifying which intellectual property rights might apply, and then balancing the scope of available protection, the likelihood of obtaining that protection, and the cost of pursuing that protection. For example, while one might want to get a patent, if the prior art is very close, the scope of available protection might not justify the effort and expense of applying. Similarly, even though copyright is relatively inexpensive, it does mean one would register every single work.









